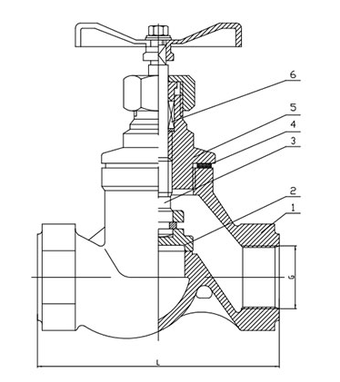
The valve stem axis of the stainless steel threaded globe valve is perpendicular to the valve seat sealing surface. This valve features a short opening/closing stroke and high closing reliability, making it particularly suitable for media isolation and throttling applications.
The J11W-16P valve is a variant of the threaded stainless steel globe valve. It is especially suitable for pipeline systems requiring frequent operation, high media purity, or operation in corrosive environments. This valve offers stable performance and serves as an economical and versatile solution.
For details, please contact us! www.carbonvalve.com - Custom specifications available upon request.
#GlobeValve #StainlessSteel #304 #316 #ThreadedValve #FluidControl #StainlessSteelValve



